归档时间:2020-08-07
当前位置:
首页
>
专题专栏
>
“一件事一次办”服务
>
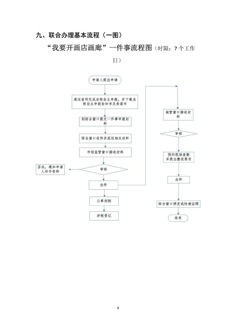
我要开画店画廊
“我要开画店画廊”(个体工商户)
来源:湘阴县最多跑一次改革办公室
2019-05-28 10:07
浏览量:
1
|
|
|
|